服務熱線
4006-598-119
海灣消防續寫奧運精神,筑造大型體育館安全新防線!

北京時間8月12日凌晨,隨著法蘭西體育館中奧運會主火炬緩緩熄滅,巴黎奧運會正式閉幕。恭喜中國代表團收獲了91枚獎牌,其中數創下了境外參加奧運會的更佳 成績。
大型體育場館作為競技比賽的核心載體,不僅見證了運動員們的汗水與輝煌,更需確保每一位參與者及觀眾的安然無虞。
海灣消防能為大型體育場館
設計并實施消防應急解決方案,
還擁有多款適用于體育場館的
應急疏散消防產品,
以滿足不同場景下的安全需求。
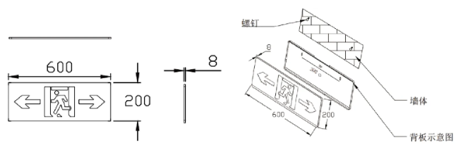
海灣VN400系列大型標志燈
集中電源集中控制型消防應急標志燈具

海灣VN400系列標志燈為二線制產品,有壁掛和吊裝兩種系列。燈具通過信號總線接入應急照明集中電源;受應急照明控制器的控制及管理。采用電子編碼方式現場編碼。
具有以下工作狀態:
1.常亮—正常狀態
2.閃亮或定向閃亮—應急狀態
3.定向—雙向標志燈指向一側
4.熄滅—指示關閉
主要特點
★
低功耗設計,環保節能
★
工業級16位CPU芯片集中控制
★
智能顯示,遠程設置常亮、閃亮、熄滅,直觀方便
★
實時監測,可識別和反饋光源、電源和通訊故障
★
現場編碼,調試方便
技術特性

關鍵尺寸圖(mm)

海灣VN500系列
集中電源集中控制型消防應急標志燈具

海灣VN500系列為海灣二線制地埋燈具,直徑160mm,帶飄邊設計,燈具通過信號總線接入應急照明集中電源;受應急照明控制器的控制及管理。采用電子編碼方式現場編碼。
具有以下工作狀態:
常亮—正常狀態
閃亮或定向閃亮—應急狀態
定向—雙向標志燈指向一側
熄滅—指示關閉
主要特點
★
低功耗設計,環保節能
★
工業級16位CPU芯片集中控制
★
智能顯示,遠程設置常亮、閃亮、熄滅,直觀方便
★
實時監測,可識別和反饋光源、電源和通訊故障
★
現場編碼,調試方便
技術特性

關鍵尺寸圖(mm)
